Телега шарнирная приводная ТШП-2 г/п 1тн
Шарнирно-приводная тележка ТШП 2, грузоподъемностью 1 тонна.
Она устанавливается на привод передвижения отечественных электрических талей и на ход подвесных кран-балок в комплекте с ТШН 2 – это холостая тележка. Обычно износу, если требуется заменить механизм, подлежит только ТШП 2.
Характеристики и размеры ТШП 2.
| Грузоподъемность | 1-2 тн | |
| Количество включений за час | 115-120 | |
| Скорость передвижения тележки | 24 м за мин. | |
| Режим работы | Малый и средний | |
| Масса/вес | 39-40 кг | |
| Информация по электродвигателю | Марка | АИР 56 В4 У3 |
| Мощность | 0,18 кВт | |
| Обороты | 1380 об в мин. | |
| Напряжение | 380 В | |
| Двутавр по которому возможна работа | 24М,36М,30М | |
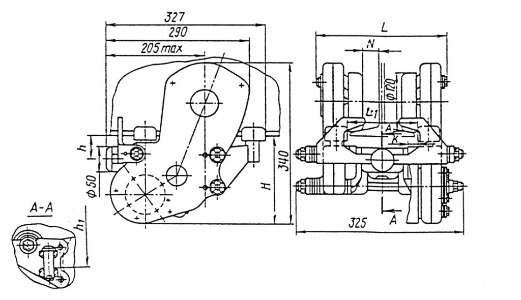
Чертеж ТШП 2.
| h1 | h | L | H | l± | N | K |
| 83±3 | 46±3 | 270 | 182 | 114 | 17 | 10 |
| 82±3 | 45±3 | 290 | 181 | 134 | 27 | 20 |
| 81±3 | 44±3 | 290 | 180 | 134 | 27 | 20 |
Дополнительно вы можете приобрести





