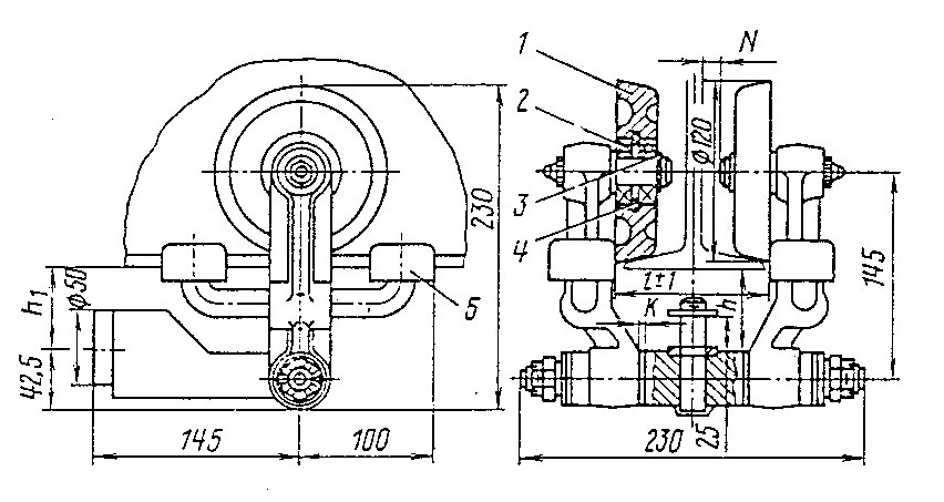
Телега шарнирная неприводная для тали г/п 1 тн (ТШН-1)
Тележка шарнирная неприводная (без привода) предназначена для перемещения всевозможных грузов массой до 1000 кг
по горизонтальным и криволинейным монорельсовым путям.
В качестве монорельса используются двутавровые балки разных размеров (24М, 30М, 36М) по ГОСТ-19425-74 с шириной полок от 110 до 130 мм.
| Номер балки | l | K | N, не более | h | h1 |
|---|---|---|---|---|---|
| 24М | 114 | 0 | 17 | 52+-3 | 52+-5 |
| 30М | 134 | 10 | 27 | 51+-3 | 51+-5 |
| 36М | 134 | 10 | 26 | 50+-3 | 50+-5 |
Дополнительно вы можете приобрести





