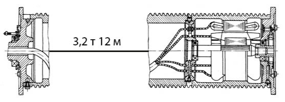
Барабан 138-2А г/п 3,2 тн h=12м
Барабан 138-2А предназначен для намотки грузового канала.
Эта модель подходит для электрических талей с высотой подъема груза 12 метров.
Барабан имеет корпус цилиндрической формы. На его наружной поверхности нанесена резьба, которая способствует равномерной намотке каната. Внутри барабан полый. В него устанавливается электродвигатель, который приводит механизм в движение. Барабан в связке с электроприводом представляет собой мотор-барабан.
Корпус барабана рассчитан на высокие внешние нагрузки. Он не деформируется под тяжестью груза. Допускается эксплуатация в помещении и под открытым небом.
Дополнительно вы можете приобрести





