Ограничитель грузоподъемности ВОТ
Данный механизм функционирует следующим образом: при подъеме груза канат, проходящий через ролики и блок ограничителя грузоподъемности, натягивается, тем самым вытягивая блок наружу. На блоке имеется пружина, которая при нормальных условиях не мешает работе электротельфера. Как только осуществляется попытка поднять груз, превышающий грузоподъемность, блок ограничителя вытягивается и размыкает внутренние контакты, что, в свою очередь, размыкает электрическую цепь тельфера и останавливает механизм подъема. После отключения возможно только включение функции спуска. Функция подъема будет недоступна до момента ослабления каната, путем уменьшения веса поднимаемого груза.
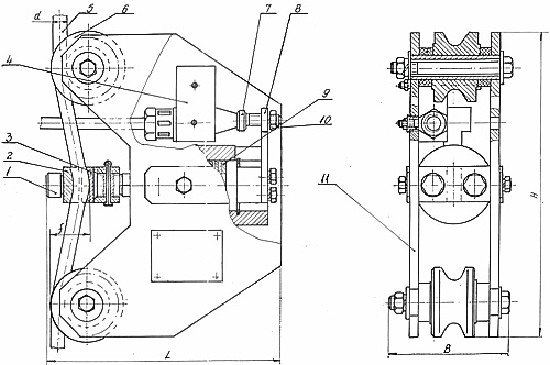
| Грузоподъемность тали, тонн |
Тип ОГП | Номинальная нагрузка каната, кг |
d1, мм | L1, мм | H1, мм | H2, мм | B, мм | Масса, кг |
|---|---|---|---|---|---|---|---|---|
| 0,5 | ВОТ 025 | 250 | 6…8 | 136 | 120 | 162 | 70 | 3,2 |
| 1 | ВОТ 050 | 500 | 6…8 | 136 | 120 | 162 | 70 | 3,8 |
| 2 | ВОТ 100 | 1000 | 10…14 | 162 | 160 | 208 | 83 | 5,0 |
| 3,2 | ВОТ 160 | 1600 | 10…14 | 162 | 160 | 208 | 83 | 5,2 |
| 5 | ВОТ 250 | 2500 | 12…16 | 190 | 200 | 295 | 102 | 11,6 |
| 8 | ВОТ 400 | 4000 | 14…18 | 190 | 200 | 295 | 102 | 11,8 |
| 10 | ВОТ 500 | 5000 | 14…20 | 190 | 200 | 295 | 102 | 12,0 |





